广州国自机器人
  • 首页
  • 无人机
  • 机器人
  • 人工智能
首页 包含"无人机飞控系统核心算法"标签的文章
无人机设计核心原理是什么? 无人机

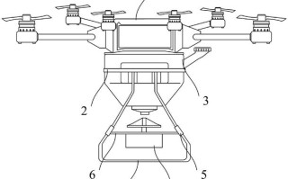
无人机设计核心原理是什么?

由于我无法直接生成一个完整的PDF文件,但我可以为您构建一份极其详尽的《无人机设计原理》的完整大纲和核心内容,这份大纲可以作为您撰写、整理或学习相关知识的框架,几乎涵盖了所有关键章节,您可以根据这个框...

99ANYc3cd6 2026-01-10 22 #无人机气动布局设计原理 #无人机飞控系统核心算法 #无人机轻量化结构设计方法

最新文章

  • 如何自制遥控机器人?步骤有哪些?

    如何自制遥控机器人?步骤有哪些?

    2026-04-07 0
  • 人工智能究竟将如何重塑人类未来?

    人工智能究竟将如何重塑人类未来?

    2026-04-07 0
  • 无人机证到期后如何续签?

    无人机证到期后如何续签?

    2026-04-07 0
  • 大疆无人机使用小技巧

    大疆无人机使用小技巧

    2026-04-07 0
  • 扫地机器人实际使用体验如何?

    扫地机器人实际使用体验如何?

    2026-04-07 0
  • 智能扫地机器人真的实用吗?

    智能扫地机器人真的实用吗?

    2026-04-07 0

热门文章

  • 1.epson机器人价格
  • 2.国内人工智能领域领军者是谁?
  • 3.大疆3无人机价格为何波动?
  • 4.Alpha人形机器人有何突破?
  • 5.顺丰无人机有何新突破?
  • 6.无人机航拍如何精准定坐标?
  • 7.大疆无人机有哪些不足?
  • 8.大疆悟高级无人机价格是多少?

关于本站

侵权处理与合作:473708564#qq.com,#换成@就是邮箱

京ICP备2025110917号

联系我们

关注我们

广州国自机器人二维码